Toyota rozwija hybrydę plug-in dla pickupów – szczegóły patentów
Toyota pracuje nad hybrydami plug-in w segmencie pickupów, jak pokazują nowe patenty. Dowiedz się o innowacjach w układzie akumulatorów i strategii firmy.
Toyota kontynuuje rozwój swojej wielotorowej strategii elektryfikacji, a nowe patenty sugerują, że firma pracuje nad hybrydą plug-in w segmencie pickupów. W bazie danych Światowej Organizacji Własności Intelektualnej pojawiły się dwa wnioski patentowe, co pośrednio wskazuje na aktywny proces rozwojowy. Oba koncepty skupiają się na umieszczeniu pakietów akumulatorów w obszarze skrzyni ładunkowej, gdzie pickupy z ramą nośną tradycyjnie mają więcej wolnej przestrzeni.
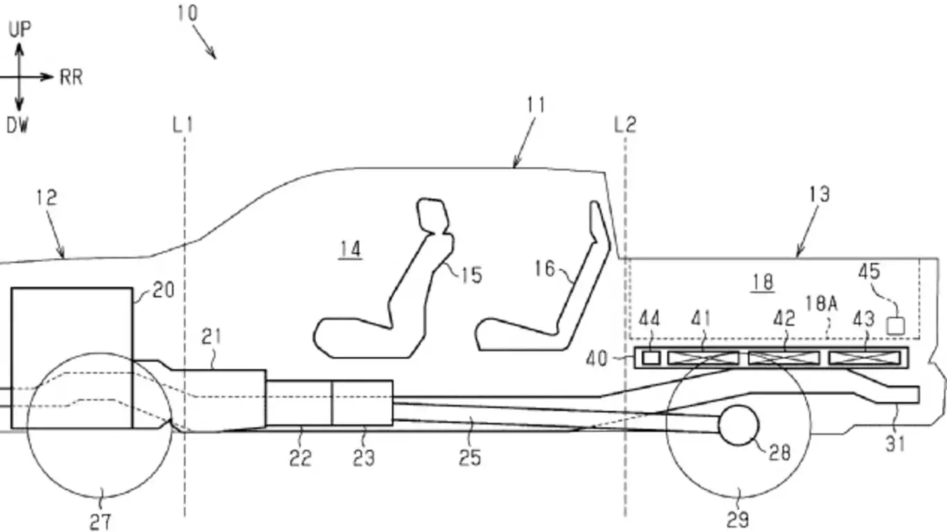
Pierwszy patent opisuje hybrydę plug-in, w której cała jednostka akumulatorowa znajduje się pod podwoziem, w okolicy wału napędowego prowadzącego do tylnych kół. Między ramą a skrzynią ładunkową umieszczono panel ochronny, a port ładowania wyprowadzono z tyłu. Ta architektura minimalizuje zmiany w konstrukcji podwozia i wykorzystuje niewykorzystaną objętość, nie ingerując w układ paliwowy ani skrzynię biegów.
Drugi patent jest bardziej złożony: akumulator podzielono na dwa moduły. Jeden znajduje się pod tylnymi siedzeniami w konfiguracji Crew Cab, a drugi umieszczono pod środkową częścią nadwozia. Rozłożenie masy poprawia prowadzenie i zmniejsza wpływ akumulatora na geometrię zawieszenia, a układ pozwala ominąć komponenty platformy spalinowej – takie jak układ wydechowy, skrzynia biegów czy zbiornik paliwa.

Choć zgłoszenia patentowe nie gwarantują produkcji, rozszerzenie ochrony w Stanach Zjednoczonych wskazuje, że temat ma dla Toyoty znaczenie strategiczne. Segment hybryd plug-in w pickupach dopiero się kształtuje: ogłoszono już Ram 1500 REV (Ramcharger), a Ford przygotowuje Rangera PHEV, choć nie na rynek amerykański. Jeśli ceny paliw będą nadal rosnąć, hybrydowe pickupy mogą stać się logicznym kompromisem – oferują wysoki moment obrotowy i zasięg bez masywnych akumulatorów typowych dla aut elektrycznych.
Toyota, która trzyma się filozofii „właściwy produkt do każdego segmentu”, wyraźnie widzi hybrydowego pickupa jako kolejny krok w rozwoju swojej linii Tacoma/Hilux. Patenty potwierdzają, że prace trwają, a rynek zdaje się dojrzewać do takiego rozwiązania.