Rolls-Royce готовит возвращение капота, который открывается как шкаф
press.rolls-roycemotorcars.com
Rolls-Royce запатентовала двухсоставной капот с центральными петлями
Патент BMW раскрывает двухсекционный капот, который может появиться на будущих моделях Rolls-Royce.
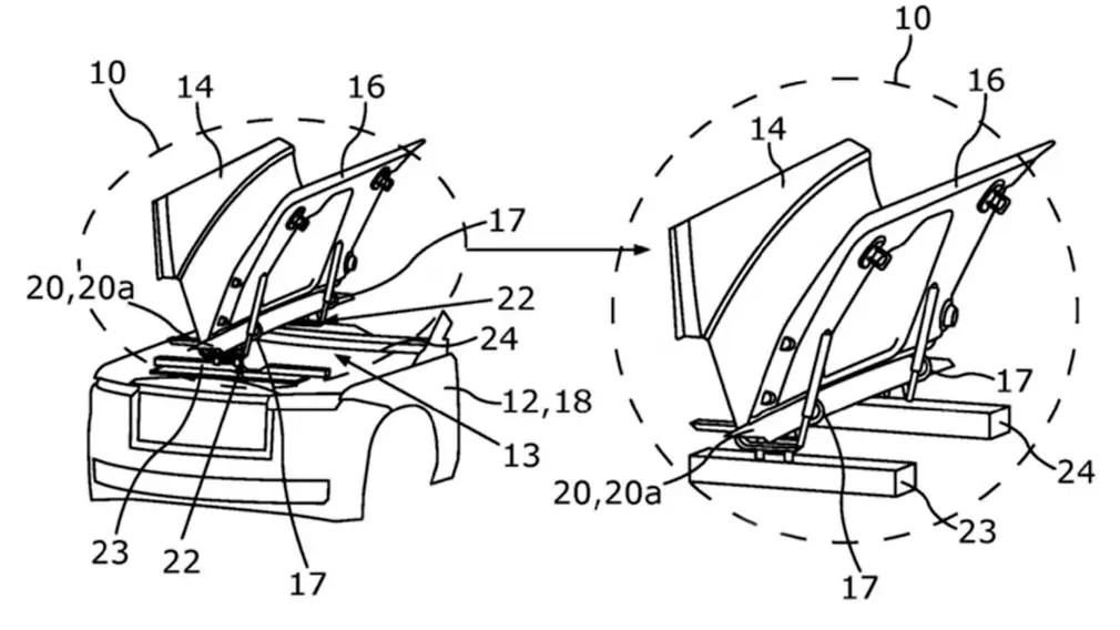
Rolls-Royce может вернуть классическую конструкцию капота, популярную в первой половине XX века. В базе WIPO опубликована патентная заявка BMW AG от мая 2024 года, в которой описывается метод монтажа капота, состоящего из двух секций, закрепленных на отдельных поперечинах. В тексте патента бренд Rolls-Royce не указан, однако схема внешне напоминает современный Phantom, Ghost, Spectre или Cullinan.
В заявке приведены два варианта конструкции: капот с центральными петлями и разделенная надвое панель с четырьмя петлями у основания лобового стекла. Оба решения могут использоваться для доступа к силовым агрегатам или переднему багажнику в электромобилях. Представители Rolls-Royce отметили, что схожая идея применена на лимитированной модели Boat Tail для доступа к заднему отсеку.
Компания подчеркивает, что патентные заявки не всегда указывают на скорую появление серийных решений. Ранее изданию Tarantas.News стало известно, что эксклюзивный Rolls-Royce Phantom от Mansory выставлен на продажу за колоссальные 820 тысяч долларов.