Toyota против Ram и Ford: японцы решили, что нечего ездить с пустой платформой
WIPO
Toyota готовит PHEV-пикап: патенты раскрывают компоновку с батареями в кузове
Патенты Toyota раскрывают планы по созданию PHEV-пикапа: батареи размещены под грузовой платформой или частично под кабиной, что снижает расход и повышает балансировку. Технология может лечь в основу будущих Tacoma или Hilux.
Toyota продолжает развивать стратегию многоформатной электрификации и, судя по новым патентам, готовит подключаемый гибридный пикап. В базе Всемирной организации интеллектуальной собственности появились две патентные заявки, что косвенно указывает на реальность разработки. Обе идеи сосредоточены на компоновке батарей в зоне грузовой платформы, где у рамных пикапов традиционно больше пространства.
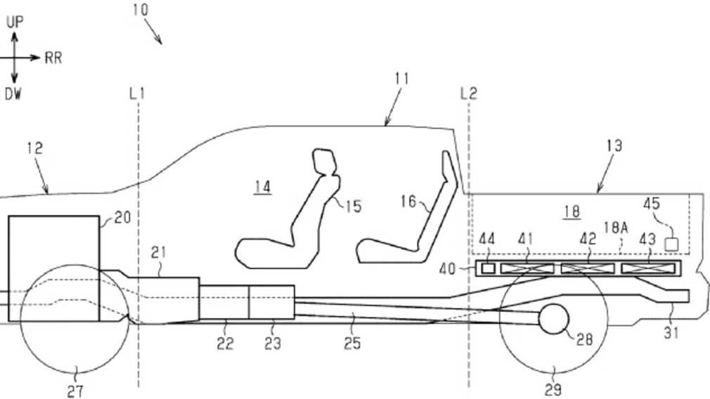
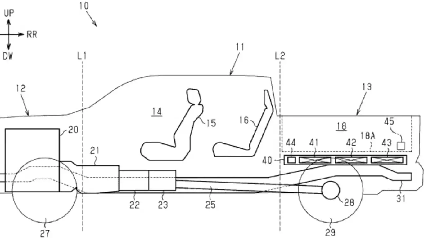
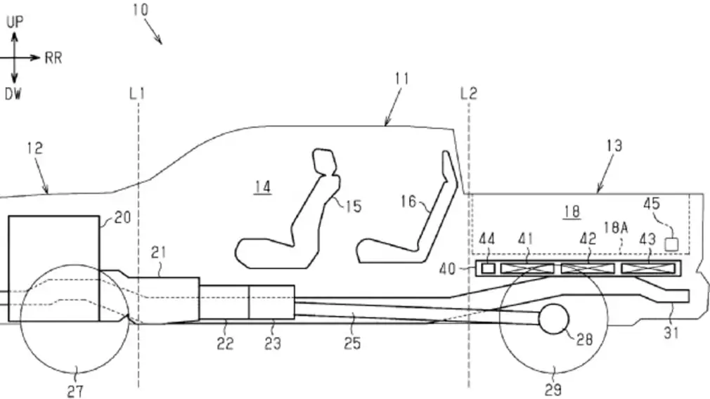
Первый патент описывает PHEV-пикап, где весь аккумуляторный блок расположен под кузовом, вокруг карданного вала, ведущего к задним колёсам. Между рамой и грузовой платформой предусмотрена защитная панель, а порт зарядки выводится в заднюю часть. Такая архитектура минимизирует изменения в конструкции шасси и использует свободный объём, не затрагивая топливную систему и трансмиссию.
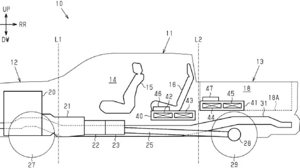
Второй патент — более сложный: батарея разделяется на два блока. Один размещён под задними сиденьями Crew Cab, второй — под центром кузова. Распределение массы улучшает управляемость и снижает влияние батареи на геометрию подвески, а компоновка позволяет обходить элементы ДВС-платформы — выхлоп, трансмиссию, бак.
Хотя регистрации патентов не гарантируют серийного производства, расширение защиты в США показывает, что тема стратегически важна для Toyota. Сегмент PHEV-пикапов только формируется: Ram 1500 REV (Ramcharger) уже объявлен, Ford готовит Ranger PHEV, но не для рынка США. Если цены на топливо продолжат расти, гибридные пикапы станут логичным компромиссом: высокая тяга и дальность без массивных батарей BEV.
Toyota, придерживающаяся концепции «правильный продукт для каждого сегмента», очевидно видит в гибридном пикапе следующий шаг в развитии линейки Tacoma/Hilux. Патенты подтверждают: работа ведётся, и рынок созревает для такого решения.